您访问的链接即将离开"云浮市应急管理局"网站 是否继续?
—— 云浮市应急管理局
—— 云浮市应急管理局
搜 索
首页
信息公开
专题专栏
政务服务
当前位置:
首页
>
云浮市应急管理局
>
信息公开
>
信用信息双公示
>
行政许可信息公示
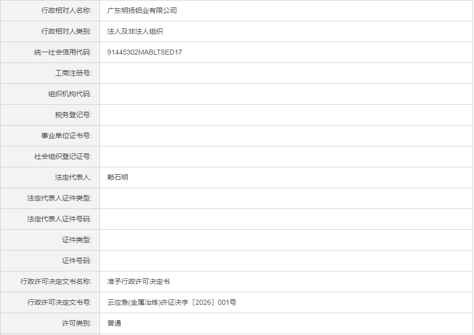
云应急(金属冶炼)许证决字〔2026〕001号广东明扬铝业有限公司金属冶炼建设项目安全设施设计审查意见书
发布时间:2026-03-19 17:33:50 文档来源:云浮市应急管理局 查看次数:
-
【字体:
小
中
大
】
未经授权,严禁转载!
关闭窗口
打印此页
分享到:
相关文章
2026-03-17
云应急(危化)许证决字〔2026〕42号广东正浩交通技术有限公司危险化学品安全生产许可证(延期换证)
2026-03-16
云应急(危化)许证决字〔2026〕41号罗定市黎少新立加油站危险化学品经营许可证(延期换证)
2026-03-11
云应急(危化)许证决字〔2026〕40号中国石化销售股份有限公司广东云浮云安小湘加油站危险化学品经营许可证(延期换证)
2026-02-09
云(非煤)安许证决字[2026]W01号罗定市昌泰矿业有限公司荣耀石场露天开采建筑石料用灰岩(首次申领)
2026-02-10
云应急(危化)许证决字〔2026〕39号罗定市林德化工有限公司危险化学品经营许可证(延期换证)
友情链接
安全生产举报系统
---- 友情链接 ----
中国应急管理报
党的群众路线网
新兴县应急管理局
罗定市应急管理局
云城区应急管理局
云安区应急管理局
郁南县应急管理局
中国安全生产网
广东省应急管理厅
中华人民共和国应急管理部
版权所有(c)
云浮市人民政府门户网站
,未经许可 不得擅自复制、镜象
网站地图
主办单位:
云浮市人民政府办公室
云浮市应急管理局
制作和维护
单位地址:云浮市区河滨西路65号
邮政编码:527300 监督投诉电话:12345,12350 监督投诉邮箱:yfyjgl@163.com
ICP备案:
粤ICP备09015554号-1
网站标识码:
4453000003
公安备案:
粤公网安备 44530202000010号