云浮市应急管理局
无障碍
长者助手
我的收藏
收藏
政府信息公开
规章库
高级搜索
搜索位置
标题
全文
排序方式
按时间
按相关度
搜索位置
标题
全文
文件状态
不限
现行有效
已失效
高级搜索
收起
搜索以下关键词
搜索位置
标题
全文
排序方式
按时间
按相关度
文件状态
不限
现行有效
已失效
搜索
云浮市应急管理局政府信息公开
规章
下载文字版
下载图片版
索引号:
114453007361565933/2026-00067
分类:
发布机构:
云浮市应急管理局
成文日期:
2026-02-05
名称:
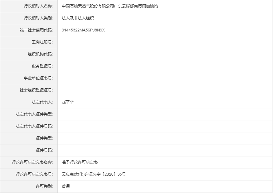
云应急(危化)许证决字〔2026〕35号中国石油天然气股份有限公司广东云浮郁南历洞加油站危险化学品经营许可证(变更换证)
文号:
发布日期:
2026-02-19
主题词:
【打印】
【字体:
大
中
小
】
分享到
:
云应急(危化)许证决字〔2026〕35号中国石油天然气股份有限公司广东云浮郁南历洞加油站危险化学品经营许可证(变更换证)
发布日期:2026-02-19 浏览次数:
-