云浮市应急管理局
无障碍
长者助手
我的收藏
收藏
政府信息公开
规章库
高级搜索
搜索位置
标题
全文
排序方式
按时间
按相关度
搜索位置
标题
全文
文件状态
不限
现行有效
已失效
高级搜索
收起
搜索以下关键词
搜索位置
标题
全文
排序方式
按时间
按相关度
文件状态
不限
现行有效
已失效
搜索
云浮市应急管理局政府信息公开
规章
下载文字版
下载图片版
索引号:
114453007361565933/2026-00027
分类:
发布机构:
云浮市应急管理局
成文日期:
2026-01-29
名称:
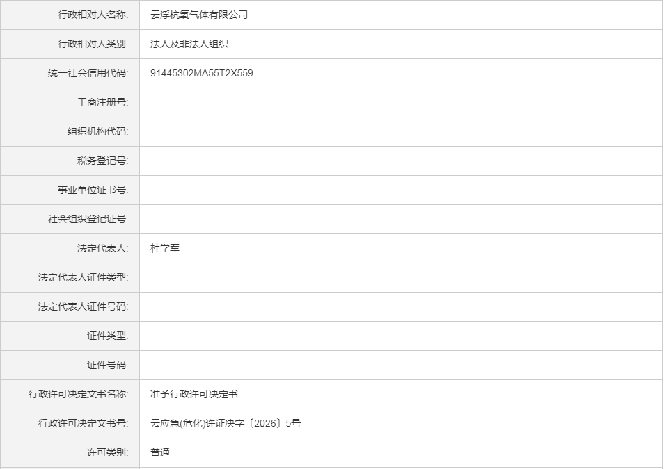
云应急(危化)许证决字〔2026〕5号云浮杭氧气体有限公司危险化学品安全生产许可证(变更换证)
文号:
发布日期:
2026-01-29
主题词:
【打印】
【字体:
大
中
小
】
分享到
:
云应急(危化)许证决字〔2026〕5号云浮杭氧气体有限公司危险化学品安全生产许可证(变更换证)
发布日期:2026-01-29 浏览次数:
-