云浮市卫生健康局
我的收藏
收藏
政府信息公开
搜索位置
标题
全文
排序方式
按时间
按相关度
规章
下载文字版
下载图片版
索引号:
1144530009333704X9/2021-01572
分类:
发布机构:
云浮市卫生健康局
成文日期:
2021-08-20
名称:
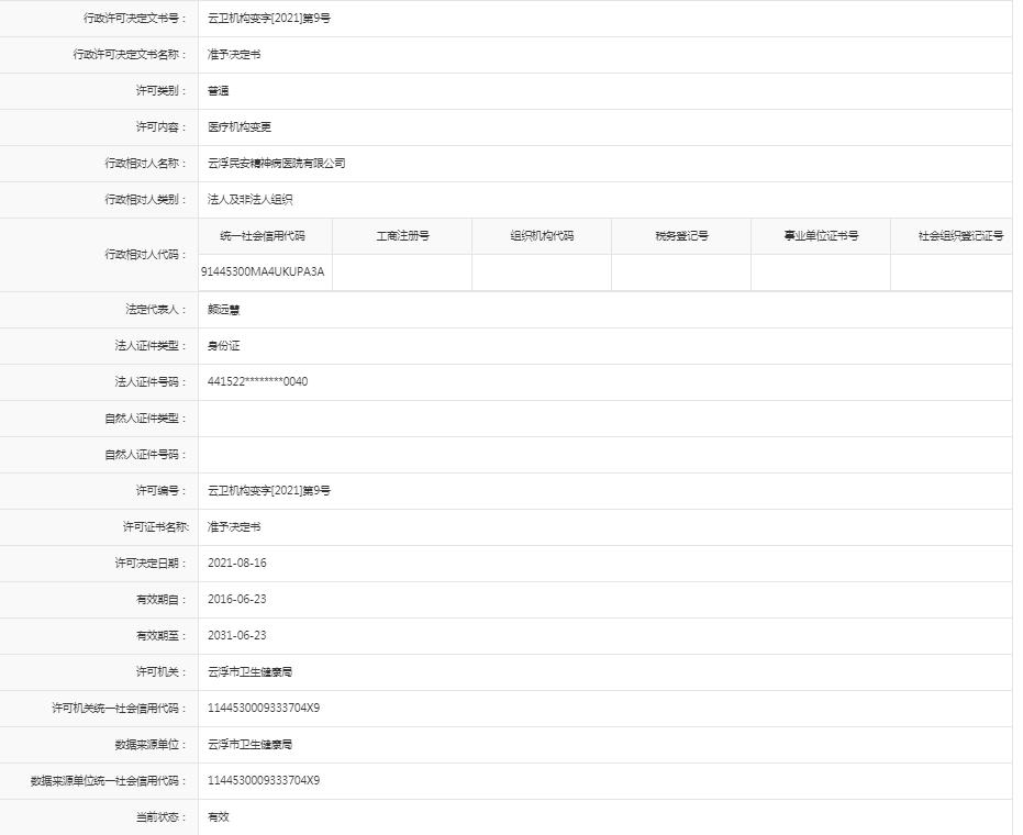
医疗机构变更【云浮民安精神病医院有限公司】
文号:
发布日期:
2021-11-22
主题词:
文件状态:
现行有效
医疗机构变更【云浮民安精神病医院有限公司】
发布日期:2021-11-22 浏览次数:
-